万博体育下载

宗馥莉接连注销名下公司

2025年10月11日09:40

来源:大河财立方

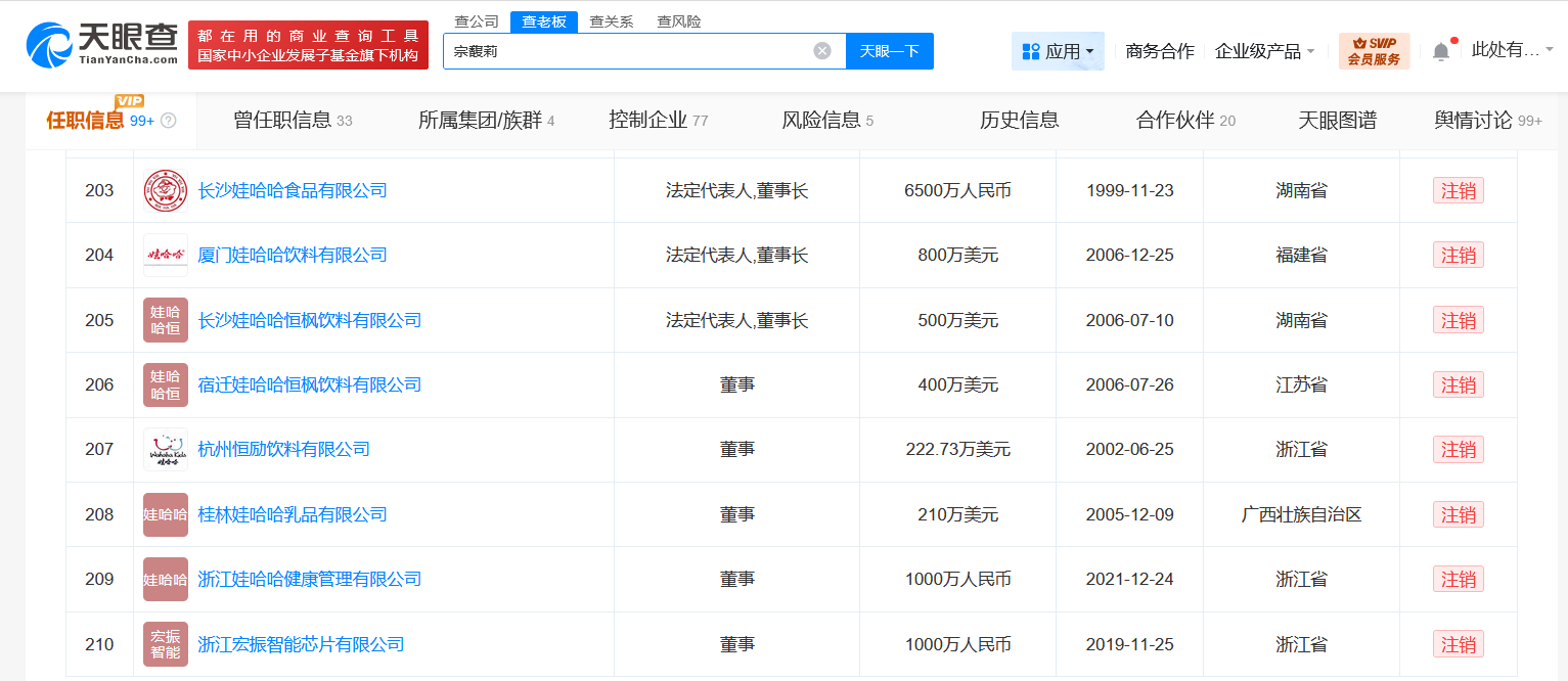
  【大河财立方消息】天眼查任职信息显示,宗馥莉名下关联210余家企业,其中200余家为存续或开业状态,包括娃哈哈商业股份有限公司、杭州娃哈哈集团有限公司等。

  值得注意的是,宗馥莉名下10余家企业已注销。其中,浙江娃哈哈健康管理有限公司、浙江宏振智能芯片有限公司、浙江德清娃哈哈科技创新中心有限公司于近期注销。此外,南京娃哈哈宏振饮用水有限公司、江山娃哈哈宏振饮用水有限公司也于近期发布简易注销公告。

  10月10日,据澎湃新闻报道,记者从知情人士处获悉,宗馥莉已于9月12日向娃哈哈集团有限公司辞去公司法人代表、董事及董事长等相关职务并已通过集团股东会和董事会的相关程序。

  另据21世纪经济报道,有消息人士称,宗馥莉此番辞职,主要是因为娃哈哈商标使用权“不合规”,宗馥莉决定经营自己的品牌“娃小宗”。同时有消息称,原宏胜集团法务部长许思敏将接任娃哈哈集团董事长等职务。

  

编辑:林辉

我来说两句 0条评论 0人参与,